Loliboss ®   13-Mar-2020 00:16

Параллельная работа судовых генераторов


Год выпуска: 2016
Язык: русский
Автор: Футин В.П.
Жанр: Учебное пособие
ISBN: УДК 629.12:621.313.12
Формат: PDF
Качество: Распознанный текст без ошибок (OCR)
Количество страниц: 40
Описание: Современный мировой флот оснащен мощными электростанциями,
которые питают навигационное оборудование, электроприводы механизмов,
освещение, различные виды связи и сигнализации и др. Большинство судовых
электростанций оборудовано несколькими одновременно работающими на
общую сеть генераторами (такую работу генераторов называют параллельной).
При этом параллельная работа генераторов вызвана в первую очередь
необходимостью объединения в общую энергетическую систему нескольких
генераторных агрегатов, что позволяет наиболее рационально загружать станцию
в течении всего рейса (с учетом стоянки на рейде и в порту) и бесперебойно
снабжать потребителей электрической энергией.
Целью учебно-методического пособия является изучение вопросов
связанных с подготовкой и включением судовых генераторов в параллельную
работу, чему в значительной мере способствуют структурные и электрические
схемы представленные в тексте.
Данное пособие, содержит три раздела и приложение. В первом разделе
приведены основные требования, предъявляемые классификационными
обществами к судовым электрическим станциям и параллельной работе
генераторов. Во втором сведения о параллельной работе генераторов, включение
и особенности их параллельной работы. Третий раздел включает в себя описание
и схемы современной судовой электроэнергетической системы теплохода
«Marcatania», с описанием принципов генерирования электрической энергии
валогенератором. В приложение приведены общие сведения об асинхронных
генераторах.
Целевой аудиторией являются студенты старших курсов, обучающиеся по
специальностям «Эксплуатация судового электрооборудования и средств
автоматики» и «Эксплуатация судовых энергетических установок» также
изложенный материал может быть полезен для судовых электромехаников и
механиков.

Содержание

ПРИНЯТЫЕ СОКРАЩЕНИЯ…………...….………………………………………. 5
ВВЕДЕНИЕ………………………………………………………………………....... 6
1 ОСНОВНЫЕ ТРЕБОВАНИЯ ПРЕДЪЯВЛЯЕМЫЕ
КЛАССИФИКАЦИОННЫМИ ОБЩЕСТВАМИ К СУДОВЫМ
ЭЛЕКТРИЧЕСКИМ СТАНЦИЯМ И ПАРАЛЛЕЛЬНОЙ РАБОТЕ
ГЕНЕРАТОРОВ……………………………………………………………………....
7
1.1. Основные требования, предъявляемые Российским морским регистром
судоходства к судовым электрическим станциям и параллельной работе
генераторов…………………………………………………………………………...
7
1.1.1. Состав и мощность основного источника электрической энергии………... 7
1.1.2. Генераторные агрегаты……………………………………………………….. 9
1.1.3. Распределение нагрузки при параллельной работе генераторов………….. 11
1.1.4. Валогенераторы……………………………………………………………….. 12
1.1.5. Утилизационные турбогенераторы………………………………………….. 12
1.2. Основные требования, предъявляемые Регистром судоходства Украины к
судовым электрическим станциям и параллельной работе генераторов………...
13
1.2.1. Состав и мощность основного источника электрической энергии………... 13
1.2.2. Электрические агрегаты……………………………………………………… 14
2 ПАРАЛЛЕЛЬНАЯ РАБОТА ГЕНЕРАТОРОВ………………………………….. 17
2.1. Включение генераторов на параллельную работу…………………………..... 17
2.2. Особенности параллельной работы генераторов..……………………............. 19
2.3. Понятие «перевод нагрузки» и «распределение нагрузки»……………......... 20
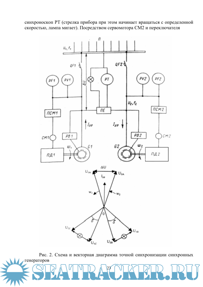
2.4. Параллельная работа судовых генераторов переменного тока…………….... 21
3 ЭЛЕКТРОЭНЕРГЕТИЧЕСКАЯ СИСТЕМА ТЕПЛОХОДА
«MARCATANIA»…………………………………………………………………….
29
3.1. Общее описание электроэнергетической системы теплохода «Marcatania»... 29
3.2. Принципы генерирования электрической энергии валогенератором...…..…. 31
4 ПРИЛОЖЕНИЕ……………………………………………………………………. 38
СПИСОК ЛИТЕРАТУРЫ…………………………………………………………… 40

Скриншоты

Футин. Параллельная работа судовых генераторов.pdf

Download [1 KB]

Thank U
Reply
refresh list

Similar releases

Электроэнергетическая установка судна - Михайлов В.С. [2009, PDF/DjVu]
Системы автоматического регулирования параметров электрической энергии судовых электростанций. Ч.3.…
Электрооборудование судов - Вилесов Д.В., Краснов В.В. и др. [1982, PDF]
Эксплуатация судовых электроэнергетических установок - Пипченко А.Н. Братановский С.А. [2010, PDF]
Конспект лекций „Судовые электрические машины и автоматизированный электропривод” - Миронов В.В.…
Эксплуатация судовых систем электроснабжения - Лемин Л.А. [2006, PDF]
Техническая Эксплуатация Судовых Холодильных установок - Ю.Сластихин [2014, PDF]
Фока. А.А. Судовой Механик. Справочник. Том 1-3. 2016 - Фока А.А. [2008,2010,2016, PDF]
Электро-энергетические системы морских судов - Л.Сергиенко, В. В. Миронов [1991, PDF]
''Перетекание'' электрической мощности при параллельной работе…
LOAD MORE
  • Reply

The time now is: Today 20:08

All times are GMT + 3 Hours