vitbar192 ®   15-Oct-2021 09:04

Системы автоматического регулирования параметров электрической энергии судовых электростанций. Ч.3. Параллельная работа синхронных генераторов судовых электростанций


Год выпуска: 2013
Язык: русский
Автор: Сугаков В.Г., Хватов О.С.
Жанр: Учебное пособие
Издательство: Волжский государственный университет водного транспорта
Формат: PDF
Качество: Изначально компьютерное (eBook)
Количество страниц: 140
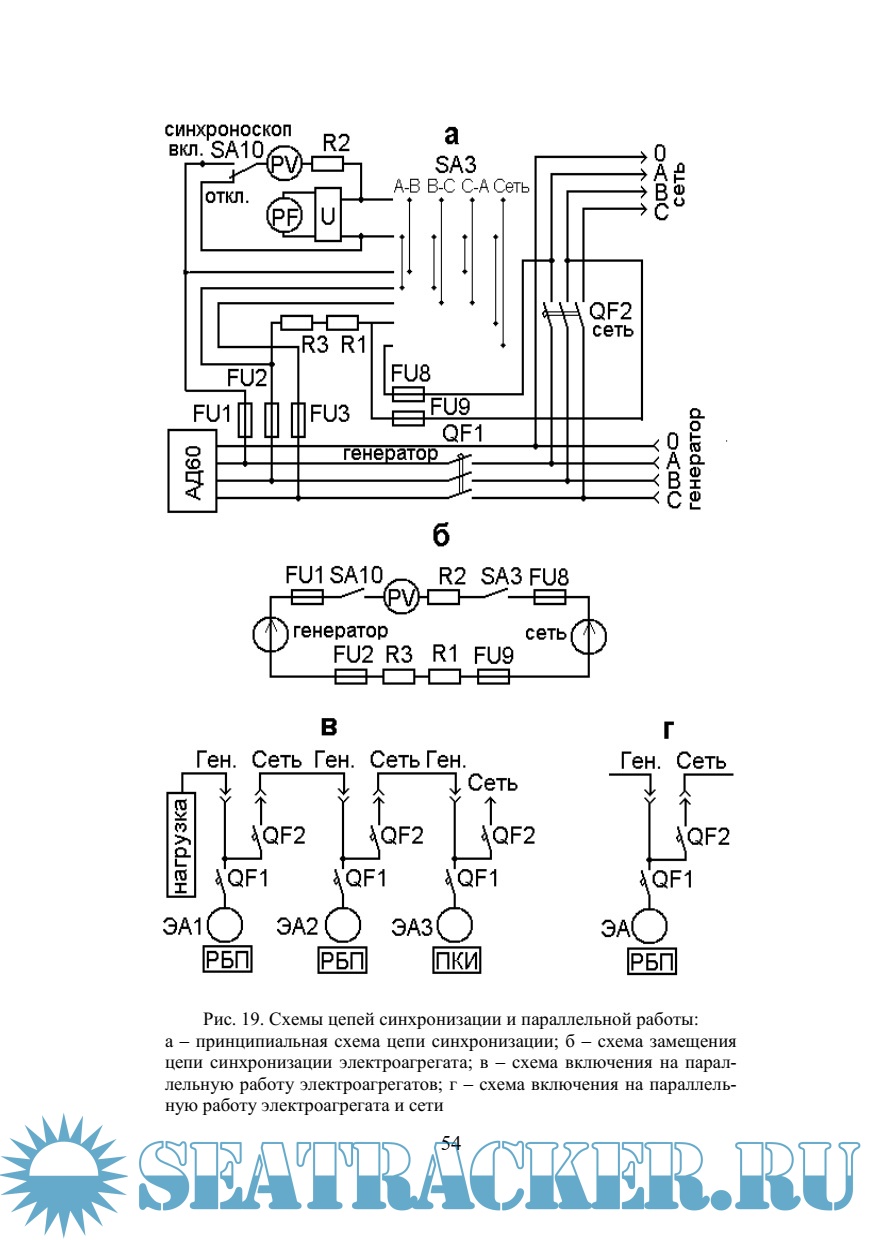
Описание: Рассматриваются вопросы, связанные с синхронизацией синхронных генераторов, распределением нагрузки при параллельной работе, переводом нагрузки с одного источника электроэнергии на другой. Анализируются особенности параллельной работы генераторов судовых электростанций с промышленной сетью.;Гриф:Рекомендовано УМО по образованию в области эксплуатации водного транспорта в качестве учебного пособия для студентов (курсантов) высших учебных заведений, обучающихся по специальности 180407 «Эксплуатация судового электрооборудования и средств автоматики»

Содержание

Скриншоты

Сугаков В.Г. Системы автоматического регулирования Ч.3, 2013.pdf

Download [3 KB]

Thank U
Reply
refresh list

Similar releases

Системы автоматического регулирования параметров электрической энергии судовых электростанций. Ч.1.…
Системы автоматического регулирования параметров электрической энергии судовых электростанций. Ч.2.…
Эксплуатация судовых электроэнергетических установок - Пипченко А.Н. Братановский С.А. [2010, PDF]
Основные нештатные режимы судовых электромашин. Часть 2 - Сюбаев М.А., Мищенко В.Ф. [2004, PDF]
Практическая мореходная астрономия - Панасенко А.Н. [2011, PDF]
Основы теории и эксплуатации судовых электроприводов - Бурков А.Ф. [2021, PDF]
Морские районы систем обеспечения безопасности мореплавания - Лентарёв А.А. [2004, PDF]
Профессиональный английский язык для морских специальностей - Курпешева А. И., Тулепбергенова Д. Ю.…
Практические вопросы конвенционной подготовки судоводителей морских судов - Письменный М. Н. [2015,…
Основные нештатные режимы судовых электромашин. Часть 1 - Жадобин Н.Е., Сюбаев М.А. [2003, PDF]
LOAD MORE
  • Reply

The time now is: Today 23:22

All times are GMT + 3 Hours