Year: 2024 Language: English Author: IMO Genre: Normative document Edition: 2024 Edition Format: PDF Quality: eBook Pages count: 168 Description: IMO Resolution A.1185(33) Adopted on 06.12.2023 Procedures for Port State Control (KF650E) 2023. Port State control inspections contribute to ensuring that global maritime standards are being implemented consistently on all ships. This publication provides guidance for port State control officers on the conduct of inspections to support harmonization in the way inspections are carried out worldwide. This document is intended to provide basic guidance on the conduct of port State control inspections in support of the control provisions of relevant conventions and parts of the IMO Instruments Implementation Code (III Code) (resolution A.1070(28)) and afford consistency in the conduct of these inspections, the recognition of deficiencies of a ship, its equipment, or its crew, and the application of control procedures. This edition includes amendments to Guidelines for the detention of ships (appendix 2) and Guidelines for port State control under MARPOL Annex VI (appendix 18), and new Guidelines for inspection of anti-fouling systems on ships (appendix 19). The 2024 edition of Procedures for Port State Control, 2023 provides guidance to PSCOs on the conduct of inspections of foreign ships to promote consistency in the way inspections are carried out worldwide and to harmonize the criteria for deciding on deficiencies found on board relating to the ship, its equipment or its crew, as well as the application of procedures. :
Additional info
The International Maritime Organization (IMO) has always acknowledged that effective implementation and enforcement of the global maritime standards contained in its conventions are primarily the responsibility of the flag State to which a ship's flag is flying. Nevertheless, the Organization has also recognized that the exercise of the right to carry out port State control, as provided for in relevant international conventions, contributes to ensuring that global maritime standards are being implemented consistently on all ships. Port State control involves the inspection of foreign ships in national port areas to verify that the condition and operation of a ship and its equipment comply with the relevant requirements contained in the applicable mandatory international instruments to which the port State is a Party. The Organization cooperates with port State control regimes within the framework of resolution A.682(17) on Regional cooperation in the control of ships and discharges to support the harmonization of port State control activities. In this context, the IMO Sub-Committee on Implementation of IMO Instruments (III) recognizing the need for a single comprehensive, consolidated and updated instrument to facilitate the work of maritime administrations in general, and port State control officers (PSCOs) in particular ? reviewed and amalgamated existing resolutions and documents on port State control. This resulted in the adoption of resolution A.1185(33) by the IMO Assembly, on 6 December 2023, which contains, as an annex, the Procedures for port State control, 2023 following successive revocation of resolutions A.1155(32), A.1138(31), A.1119(30), A.1052(27), A.882(21), A.787(19), A.742(18), A.597(15) and A.466(XII). The Assembly requested the Maritime Safety Committee and the Marine Environment Protection Committee to keep the Procedures under review and to amend them as necessary. The 2024 edition of Procedures for Port State Control, 2023 provides guidance to PSCOs on the conduct of inspections of foreign ships to promote consistency in the way inspections are carried out worldwide and to harmonize the criteria for deciding on deficiencies found on board relating to the ship, its equipment or its crew, as well as the application of procedures. It contains 20 appendices, including the Code of good practice for port State control officers, and a series of technical and operational guidelines with respect to relevant IMO conventions and mandatory codes, such as SOLAS 1974, SOLAS PROT 1988, LL 1966, LL PROT 1988, MARPOL, STCW 1978, TONNAGE 1969, COLREG 1972, AFS 2001 and the International Safety Management Code. This edition contains amendments to the Guidelines for the detention of ships (appendix 2), the Guidelines for port State control under MARPOL Annex VI (appendix 18), and new Guidelines for inspection of anti-fouling systems on ships (appendix 19). Instruments relevant to Procedures for Port State Control, 2023 (2024 edition) is an electronic publication produced by IMO. It comprises the full texts of all the instruments featured in the List of instruments relevant to Procedures for port State control, 2023 given in appendix 20 of this publication, including the Guidelines for the use of electronic record books under MARPOL, which provide further guidance for PSCOs in relation to inspection of relevant record books or logs on board a ship.
You cannot post new topics in this forum You cannot reply to topics in this forum You cannot edit your posts in this forum You cannot delete your posts in this forum You cannot vote in polls in this forum You cannot attach files in this forum You cannot download files in this forum
Procedures for Port State Control, 2023
Language: English
Author: IMO
Genre: Normative document
Edition: 2024 Edition
Format: PDF
Quality: eBook
Pages count: 168
Description: IMO Resolution A.1185(33) Adopted on 06.12.2023 Procedures for Port State Control (KF650E) 2023.
Port State control inspections contribute to ensuring that global maritime standards are being implemented consistently on all ships. This publication provides guidance for port State control officers on the conduct of inspections to support harmonization in the way inspections are carried out worldwide.
This document is intended to provide basic guidance on the conduct of port State control inspections in support of the control provisions of relevant conventions and parts of the IMO Instruments Implementation Code (III Code) (resolution A.1070(28)) and afford consistency in the conduct of these inspections, the recognition of deficiencies of a ship, its equipment, or its crew, and the application of control procedures.
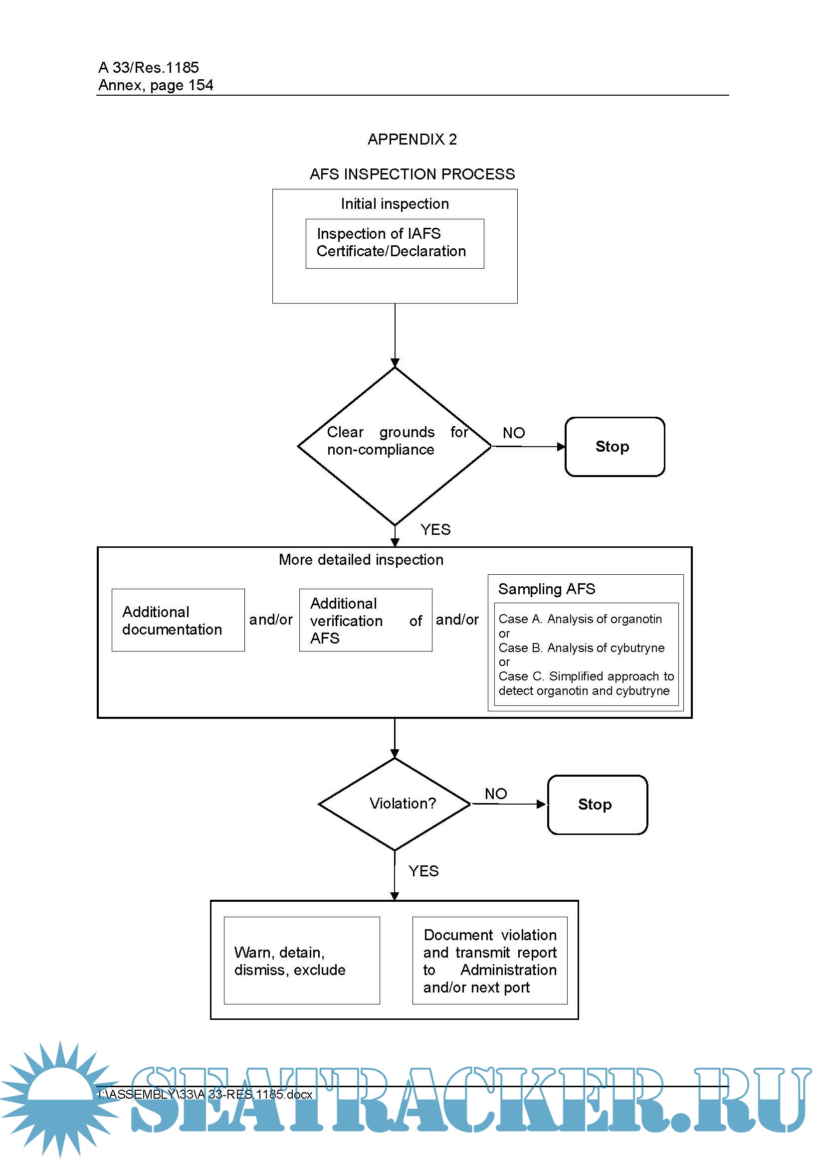
This edition includes amendments to Guidelines for the detention of ships (appendix 2) and Guidelines for port State control under MARPOL Annex VI (appendix 18), and new Guidelines for inspection of anti-fouling systems on ships (appendix 19).
The 2024 edition of Procedures for Port State Control, 2023 provides guidance to PSCOs on the conduct of inspections of foreign ships to promote consistency in the way inspections are carried out worldwide and to harmonize the criteria for deciding on deficiencies found on board relating to the ship, its equipment or its crew, as well as the application of procedures.
:
Additional info
The International Maritime Organization (IMO) has always acknowledged that effective implementation and enforcement of the global maritime standards contained in its conventions are primarily the responsibility of the flag State to which a ship's flag is flying. Nevertheless, the Organization has also recognized that the exercise of the right to carry out port State control, as provided for in relevant international conventions, contributes to ensuring that global maritime standards are being implemented consistently on all ships. Port State control involves the inspection of foreign ships in national port areas to verify that the condition and operation of a ship and its equipment comply with the relevant requirements contained in the applicable mandatory international instruments to which the port State is a Party.The Organization cooperates with port State control regimes within the framework of resolution A.682(17) on Regional cooperation in the control of ships and discharges to support the harmonization of port State control activities. In this context, the IMO Sub-Committee on Implementation of IMO Instruments (III) recognizing the need for a single comprehensive, consolidated and updated instrument to facilitate the work of maritime administrations in general, and port State control officers (PSCOs) in particular ? reviewed and amalgamated existing resolutions and documents on port State control. This resulted in the adoption of resolution A.1185(33) by the IMO Assembly, on 6 December 2023, which contains, as an annex, the Procedures for port State control, 2023 following successive revocation of resolutions A.1155(32), A.1138(31), A.1119(30), A.1052(27), A.882(21), A.787(19), A.742(18), A.597(15) and A.466(XII). The Assembly requested the Maritime Safety Committee and the Marine Environment Protection Committee to keep the Procedures under review and to amend them as necessary.
The 2024 edition of Procedures for Port State Control, 2023 provides guidance to PSCOs on the conduct of inspections of foreign ships to promote consistency in the way inspections are carried out worldwide and to harmonize the criteria for deciding on deficiencies found on board relating to the ship, its equipment or its crew, as well as the application of procedures. It contains 20 appendices, including the Code of good practice for port State control officers, and a series of technical and operational guidelines with respect to relevant IMO conventions and mandatory codes, such as SOLAS 1974, SOLAS PROT 1988, LL 1966, LL PROT 1988, MARPOL, STCW 1978, TONNAGE 1969, COLREG 1972, AFS 2001 and the International Safety Management Code. This edition contains amendments to the Guidelines for the detention of ships (appendix 2), the Guidelines for port State control under MARPOL Annex VI (appendix 18), and new Guidelines for inspection of anti-fouling systems on ships (appendix 19).
Instruments relevant to Procedures for Port State Control, 2023 (2024 edition) is an electronic publication produced by IMO. It comprises the full texts of all the instruments featured in the List of instruments relevant to Procedures for port State control, 2023 given in appendix 20 of this publication, including the Guidelines for the use of electronic record books under MARPOL, which provide further guidance for PSCOs in relation to inspection of relevant record books or logs on board a ship.
Contents
Screenshots
Notice from: twicer [translate]
https://seatracker.info/viewtopic.php?t=67988
Hidden
FILE WAS DELETED BY COPYRIGHT HOLDERS
You can buy it on https://www.imo.org
Share
twicer
Share