sheshadri ®   12-Nov-2017 15:05

Notes on Instrumentation and Control (Marine Engineering Series) - G. J. Roy


Year: 1994
Language: english
Author: G. J. Roy
Genre: Technical book
Publisher: Elsevier - Newnes -Butterworth-Heinemann-
Format: PDF
Quality: Scanned pages + text layer
Pages count: 154
Description: Notes on Instrumentation and Control presents topics on pressure (i.e., U-tube manometers and elastic type gauges), temperature (i.e. glass thermometer, bi-metallic strip thermometer, filled system thermometer, vapor pressure thermometer), level, and flow measuring devices.
The book describes other miscellaneous instruments, signal transmitting devices, supply and control systems, and monitoring systems. The theory of automatic control and semiconductor devices are also considered.
Marine engineers will find the book useful.

Contents

Table of Contents
1 Pressure Measuring Devices
2 Temperature Measuring Devices
3 Level Measuring Devices
4 Flow Measuring Devices
5 Miscellaneous Instruments
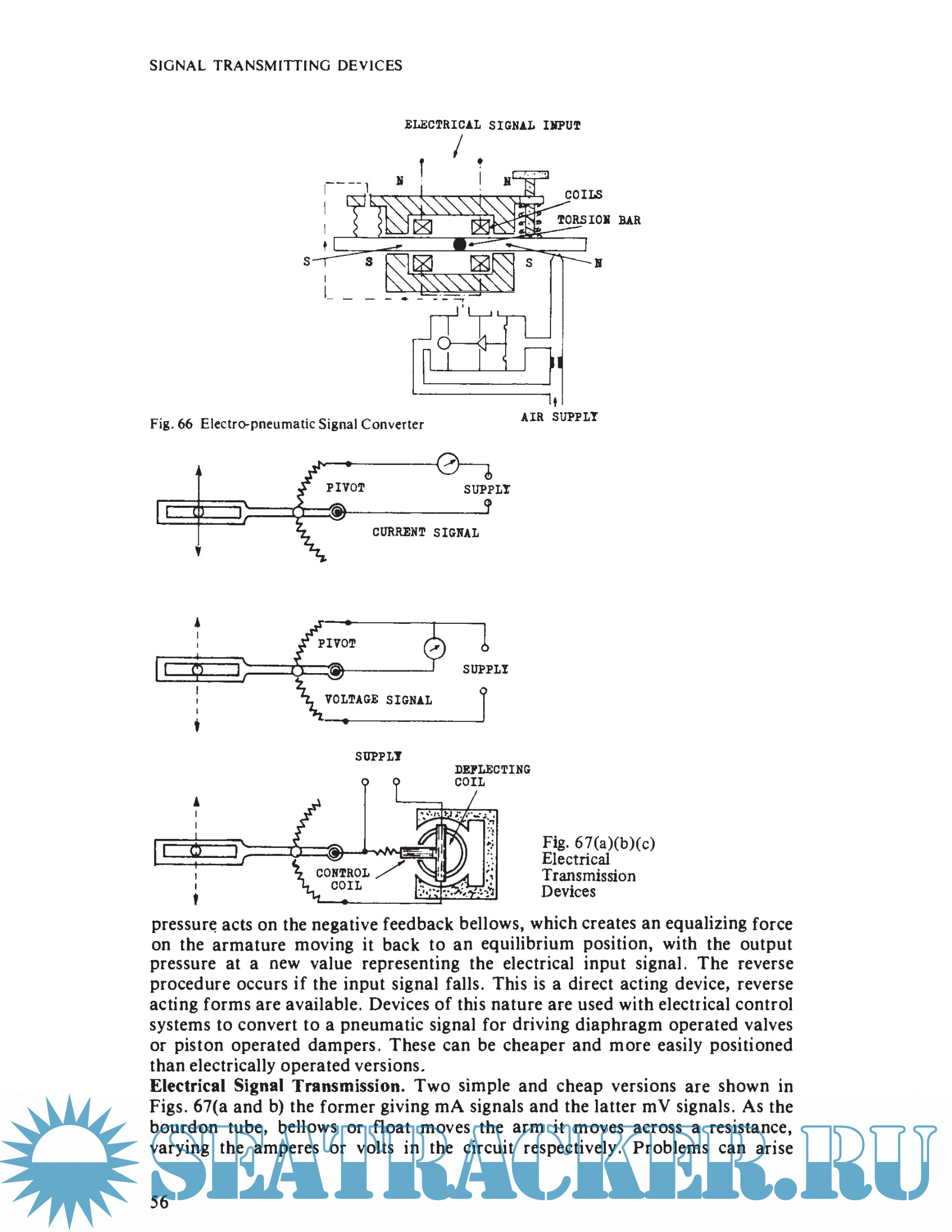
6 Signal Transmitting Devices
7 Automatic Control Theory
8 Automatic Controllers
9 Supply Systems
10 Control Valves
11 Control Systems (Steam and Motor)
12 Monitoring Systems
13 Semi-Conductor Devices

Screenshots

Notes on Instrumentation and Control - G J Roy.pdf

Download [5 KB]

Thank U
Reply
refresh list

Similar releases

Basic Electrical and Electronics Engineering for Engineering Students - Jaikaran Singh ,Vikas…
Hydraulics and Pneumatics: A Technician's and Engineer's Guide - Parr A. [1999, PDF]
AALBORG - Instruction manual for IGS, Mission OL boiler, AV-6N Economizer [2008, PDF]
Instruction Manual for Mission OS Boiler, KBO-E Burner - AALBORG [2008, PDF]
AALBORG burner type WH MS7Z [PDF]
Pounder's Marine Diesel Engines and Gas Turbines - Doug Woodyard [2003, PDF]
Measurement and control Basics - Thomas.A.Huges [2002, PDF]
Practical Boiler Operation Engineering and Power Plant - Amiya Ranjan Mallick [2014, PDF]
Practical Transformer Handbook: for Electronics, Radio and Communications Engineers - Irving…
Marine Meteorology - Supplementary Notes - WestOne Services [2003, PDF]
LOAD MORE
  • Reply

The time now is: Today 03:53

All times are GMT + 3 Hours