vitbar192 ®   20-Feb-2020 13:05

Водометы на базе подвесных лодочных моторов. Справочник


Год выпуска: 2003
Язык: русский
Автор: Хорхордин Е.Г.
Жанр: Справочное издание
Издательство: ИД Рученькиных
Формат: PDF
Качество: Отсканированные страницы
Количество страниц: 128
Описание: В пособии приведены сведения по устройству и самостоятельному изготовлению водометных движителей и установок, на которых в качестве двигателей применены силовые головки подвесных лодочных моторов. В книгу включен также материал, посвященный водомета с другими двигателями небольшой мощности. Рассмотренные конструкции предназначены для глиссирующих мотолодок и катеров. Описания основных технологических приемов изготовления деталей и узлов водометов дополнены необходимыми чертежами и схемами. Приводятся методики расчетов основных параметров водометов.

Содержание

Содержание
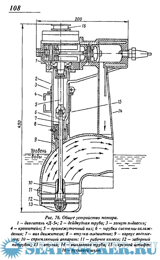
Общее устройство и типы водометов
Рекомендации по расчету элементов водомета
Рабочее колесо (ротор)
Сопло и спрямляющий аппарат
Метод расчета оптимального водометного движителя
Конструкции стационарных водометов
Водомет на базе моторов "Стрела"
Водомет для катера "Мурена"
Водометная установка "Буран"
Необычные стационарные водометы
Подвесные водометные моторы
Плюсы и минусы подвесных водометов
Водомет "Ветер"
Водометы на базе мотора "Ветерок-12"
Водомет на базе маломощных устаревших моделей ПМ
Водометы для легких лодок
Водометный мотор-весло "Мещера"
Водомет из "Салюта".

Скриншоты

Хорхордин Е.Г. Водометы на базе подвесных лодочных моторов. Справочник, 2003.pdf

Download [8 KB]

Thank U
Reply
refresh list

Similar releases

Стационарные водометы - Хорхордин Е.Г. [2004, PDF]
Подвесные лодочные моторы отечественного производства "Ветерок", "Салют" -…
Катер с водомётным движителем - Ерлыкин И.И. и др. [1969, PDF]
Лодочные моторы "Ветерок" - Фишбейн Е.И. [1989, PDF]
Спасательный катер. Устройство и эксплуатация - Печатин А. [1988, PDF]
Справочник по малотоннажному судостроению - Мордвинов Б.Г. [1987, PDF]
Катера и моторы. Справочное пособие - Акчурин А.П. [1998, PDF]
Катера и моторы. Справочное пособие - Акчурин А.П. [1998, PDF]
Устройство и эксплуатация подвесных лодочных моторов - Жаров А.П. [1969, PDF]
«Вихрь» — без секретов: Справочник - Страшкевич Р. В. [1990, PDF]
LOAD MORE
  • Reply

The time now is: Today 21:50

All times are GMT + 3 Hours